<【股票配资网站】>11月7日龙字辈概念股活跃:天龙股份十连板,多股涨幅可观【股票配资网站】>
11月7日,所谓的“龙字辈”概念股继续活跃,“带头大哥”天龙股份()更是走出十连板。
Wind数据显示,目前A股证券简称中包含“龙”字的股票共有86只,周二(11月7日)有85只飘红,仅江波龙()一只微跌0.94%。
同时,多达14只涨幅超过9%;23只涨幅超过5%;44只涨幅超过3%;54只涨幅超过3%;75只涨幅超过1%。
具体而言,天龙集团()涨幅高达20%排名第一,自10月25日至今,涨幅已高达159.46%。
兆龙互连()、龙利得()同样涨超10%,分别上行16.97%、11.11%。
恒天海龙()、龙溪股份()、龙头股份()、龙韵股份()、易德龙()、太龙药业()等均涨近10%。
锋龙股份()、龙宇股份()、龙洲股份()、龙版传媒()等同样涨超9%,分别上行9.98%、9.97%、9.93%、9.24%。

值得一提的是,本轮“龙字辈”概念股的上涨已有一段时间,特别是11月以来,在天龙股份等股票的带动下,出现了大面积活跃。
Wind数据显示,从11月1日至今,86只“龙字辈”股票有78只实现上涨,占比高达91%。其中,天龙股份、龙竹科技、龙韵股份、天龙集团等区间涨幅均超过40%。
兆龙互连()、龙溪股份、锋龙股份、龙宇股份等区间涨幅超过30%;龙版传媒、龙高股份()、易德龙、龙头股份等涨幅超过20%;飞龙股份()、龙利得()、太龙股份()等涨幅超过10%。


盘后数据显示,天龙集团11月7日大宗交易成交142.8万股,成交额785.4万元,占当日总成交额的0.37%,成交价5.5元,较市场收盘价7.68元折价28.39%。
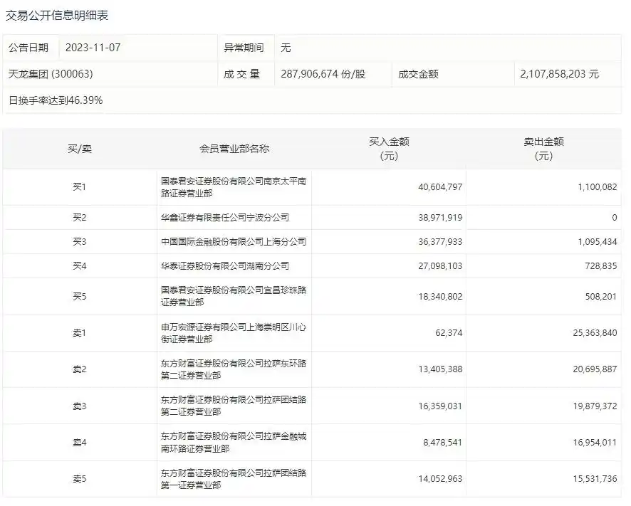
龙虎榜数据显示,天龙集团当日上榜的均为营业部席位,全天成交3.16亿元,占当日总成交金额比例为14.97%。其中,买入金额为2.14亿元,卖出金额为1.02亿元,合计净买入1.12亿元。
具体来看迪斯尼龙头概念股票代码,知名游资现身龙虎榜,国泰君安证券南京太平南路证券营业部、华鑫证券宁波分公司分别买入4060.48万元、3897.19万元;申万宏源证券有限公司上海崇明区川心街证券营业部、东方财富证券拉萨东环路第二证券营业部分别卖出2536.38万元、2069.59万元。
近一个月,天龙集团累计4次登上龙虎榜。其中,东方财富证券拉萨东环路第二证券营业部、东方财富证券拉萨团结路第一证券营业部、华鑫证券上海分公司交投最为活跃,上榜次数分别为3次、2次、2次。

除了“龙字辈”大幅狂飙外,被戏称为“龙的女朋友”的“凤字辈”概念股也表现不俗。其中,上海凤凰()涨停;凤凰光学()涨逾5%,上涨5.97%;凤凰股份()、凤凰航运()、凤竹纺织()等均涨超4%,分别上涨4.62%、4.42%、4.14%。
“其实A股炒作‘生肖概念股’的情况已非首次,在今年初农历兔年将至时,兔宝宝()股价也曾被炒高。此外,虎年的湖北广电()、牛年的金牛化工()、猪年的牧原股份()等11月7日龙字辈概念股活跃:天龙股份十连板,多股涨幅可观,也都蹭出现过生肖行情。”有券商首席投顾对澎湃新闻记者表示。
不过,该券商投顾进一步指出,出现生肖行情的概念股多为小盘股,且一般情况下多数公司的经营并不会出现较大变化,更多是情绪面的驱动。此外,从历史情况看,不乏一些被炒作的“生肖概念股”出现较大涨幅后,出现上市公司股东进行减持的情况。
澎湃新闻记者注意到,11月7日,本轮“龙字辈”概念股行情的“带头大哥”天龙股份便发布公告称:“公司股票短期涨幅严重高于同期行业涨幅及上证指数,存在市场情绪过热的风险。公司基本面没有重大变化,也不存在应披露未披露的重大信息。”
“截至目前,公司实际控制人及其一致行动人合计持有公司股票1.10亿股,占公司总股本的55.19%。其余为外部流通股。公司总股本较小,外部流通盘较小,可能存在非理性炒作风险。”天龙股份进一步指出。
今年1月份,A股市场唯一带有“兔”字的标的——兔宝宝股价曾一路飙升,股价一度从10元/股左右最高涨至17.73元/股。而在股价多次连板后,兔宝宝便发布了高管减持公告。截至11月7日,兔宝宝收报9.66元/股,较最高价几近腰斩。
“一般而言,炒作过后相关生肖概念股的股价还是会出现回归,因此建议投资者特别是个人投资者避免炒作,谨防追高后相关股票股价出现‘一泻千里’的情况。”上述券商投顾表示。


