<【股票配资网站】>中原证券子公司中原期货被警告,2024 年已暴露合规问题【股票配资网站】>
近日,中国银行间市场交易商协会发布了多条自律处分信息中原证券子公司中原期货被警告,2024 年已暴露合规问题,其中,中原证券子公司中原期货被警告。

经查,中原期货作为相关资产管理计划管理人,未审慎核查其管理的资管产品穿透委托人与投资标的发行人之间的关联关系,客观上协助某发行人“自融”发行。
自融发行,指的是发行主体通过关联方或隐蔽渠道认购自身发行债券的行为,其实就是“自己发债自己买”,它扭曲了市场定价机制,掩盖了真实信用风险,为债券违约埋下隐患。
根据银行间债券市场相关自律规定,经自律处分会议审议,对中原期货予以警告。
这是2025年交易商协会第16次自律处分会议审议决定,也是中原证券体系年内首次遭遇自律监管处罚。

资料显示,中原期货股份有限公司是中原证券股份有限公司的控股子公司,是经中国证券监督管理委员会批准,在河南省市场监督管理局登记注册的一家专业的期货公司。公司注册资本3.3亿元,是国内各期货交易所的会员单位。
值得一提的是,中原证券在2024年已暴露了一些合规问题。
2024年9月30日中原证券炒股专业版,河南证监局发布公告,对中原证券实施责令改正监督管理措施,原因是:(1)高级管理人员薪酬事项决策程序不规范,披露不完备;(2)薪酬管理及绩效考核制度不健全,薪酬递延支付要求执行不到位,内部问责机制执行不严格;(3)人员管理制度建设及信息报送存在不足。
2024年10月17日,中原证券再遭证监会通报,由于债券承销业务违规被责令暂停债券承销业务6个月,同时对总经理李昭欣、时任分管投行业务高管花金钟采取监管谈话措施。
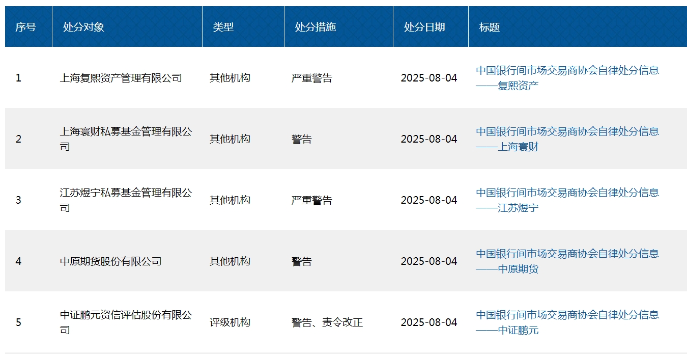
另外,事实上,交易商协会在当天连发了5条处分信息,除中原期货外,复熙资产、江苏煜宁被严重警告,上海寰财、中证鹏元被警告。

有媒体指出,这预示着资管业务已然成为债券市场违规的重灾区,而交易商协会也正在全面加强债券市场的自律管理,重点打击非市场化发行和自融交易问题,未来的监管也必将更加严格。


